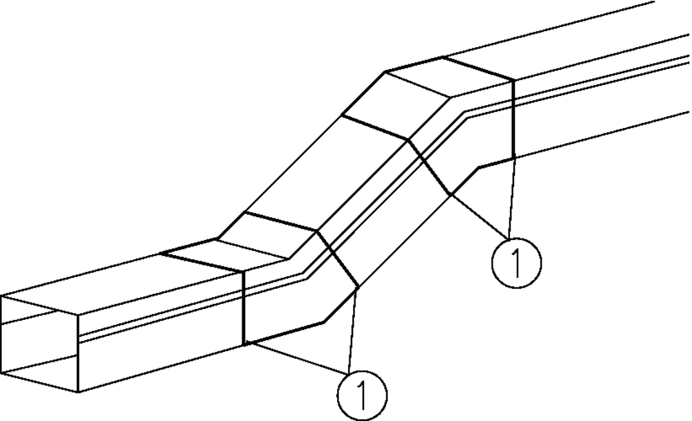
Winkelstück

1204-1315-02-25

Winkelstück

  • Durchgängig offen einlegbar

Produktbeschreibung

Die aufschnappbaren Deckel benötigen wenig Raum beim Abnehmen. Sie können, nach erfolgter Installation, bei Bedarf mit Schrauben gesichert werden.

Dieses Formteil besitzt Bohrungen für die Befestigungsschrauben der Verbindungswinkel.

Technische Daten

  • Artikelnummer: 1204-1315-02-25
  • Typ: Leitungskanal 1204
  • Querschnitt: 150 x 150 mm
  • Winkel: 45°
  • Verlegerichtung: vertikal unten
  • Schutzart: IP2X
  • Material: Stahlblech
  • Oberfläche: elektrolytisch verzinkt
  • Blechstärke: 1,5 mm
  • Gewicht: 2.1 kg

Hinweis

  • Zur Verbindung mit einem Leitungskanal oder einem anderen Formteil werden entweder Verbindungs-U oder Verbindungswinkel benötigt.
  • Je nach Gradzahl des Winkelstücks und der Ausführung des als nächstes angeschlossenen Formteiles, werden Befestigungswinkel mit unterschiedlichen Gradzahlen benötigt.
  • Varianten der Verbindungen werden im Katalog angezeigt. Siehe „Leitungskanal Katalog“ im Download-Center.
  • Ein Potenzialausgleich ist bauseits auszuführen. Siehe „Schutzleiteraufbau – xxx“ unter Downloads.
  • 1 Winkelstück mit Deckel
Kabel für Schutzleiteranschluss
3080-7036-10-10
Kabel für Schutzleiteranschluss
Leiterquerschnitte
2,5 mm2
Abmessungen
Länge: 115 mm
Bohrungsdurchmesser
Ø=4,3 mm
Material
H07V-K
Reduzierstück
1204-0715-10-01
Reduzierstück
Typ
Leitungskanal 1204
Querschnitt
von 150 x 150 mm auf 100 x 100 mm
Länge
185 mm
Material
Stahlblech
Reduzierstück
1204-0730-15-00
Reduzierstück
Typ
Leitungskanal 1204
Querschnitt
von 300 x 150 mm auf 150 x 150 mm
Länge
280 mm
Material
Stahlblech
Teleskopstück
1204-1015-03-00
Teleskopstück
Typ
Leitungskanal 1204
Querschnitt
150 x 150 mm
Abmessung
Länge: 75 mm - 450 mm
Material
Stahlblech
Endstück
1204-0215-00-00
Endstück
Typ
Leitungskanal 1204
Querschnitt
150 x 150 mm
Länge
42 mm
Material
Stahlblech
Anschlussflansch
1204-0615-00-00
Anschlussflansch
Typ
Leitungskanal 1204
Querschnitt
150 x 150 mm
Material
Stahlblech
Schraube mit Mutter
1204-9001-05-08
Schraube mit Mutter
Gewinde
M5
Gewindelänge
8 mm
Material
Stahl
Oberfläche
verzinkt
Schraube mit Scheibe
1204-9002-05-08
Schraube mit Scheibe
Gewinde
M5
Gewindelänge
8 mm
Material
Stahl
Oberfläche
verzinkt
Schraube mit Scheibe
1204-9004-05-08
Schraube mit Scheibe
Gewinde
M5
Gewindelänge
8 mm
Material
Stahl
Oberfläche
verzinkt
Schraube mit Scheibe
1207-9004-05-08
Schraube mit Scheibe
Gewinde
M5
Gewindelänge
8 mm
Material
Edelstahl
Oberfläche
roh
Leitungskanal
1204-0015-05-00
Leitungskanal
Typ
Leitungskanal 1204
Querschnitt
150 x 150 mm
Länge
500 mm
Material
Stahlblech
Leitungskanal
1204-0015-10-00
Leitungskanal
Typ
Leitungskanal 1204
Querschnitt
150 x 150 mm
Länge
1000 mm
Material
Stahlblech
Leitungskanal
1204-0015-20-00
Leitungskanal
Typ
Leitungskanal 1204
Querschnitt
150 x 150 mm
Länge
2000 mm
Material
Stahlblech
Als PDF speichern Als PDF speichern Direkt-Anfrage
Winkelstück
Winkelstück
Die aufschnappbaren Deckel benötigen wenig Raum beim Abnehmen. Sie können, nach erfolgter Installation, bei Bedarf mit Schrauben gesichert werden.
Dieses Formteil besitzt Bohrungen für die Befestigungsschrauben der Verbindungswinkel.

Merken
Leitungskanal 1204
60 x 60 mm
45°
horizontal
Stahlblech
Leitungskanal 1204
60 x 60 mm
90°
horizontal
Stahlblech
Leitungskanal 1204
100 x 100 mm
45°
horizontal
Stahlblech
Leitungskanal 1204
100 x 100 mm
90°
horizontal
Stahlblech
Leitungskanal 1204
150 x 150 mm
45°
horizontal
Stahlblech
Leitungskanal 1204
150 x 150 mm
90°
horizontal
Stahlblech
Leitungskanal 1204
300 x 150 mm
45°
horizontal
Stahlblech
Leitungskanal 1204
300 x 150 mm
90°
horizontal
Stahlblech
Leitungskanal 1204
150 x 150 mm
90°
vertikal oben
Stahlblech
Leitungskanal 1204
150 x 150 mm
45°
vertikal oben
Stahlblech
Leitungskanal 1204
150 x 150 mm
90°
vertikal unten
Stahlblech
Leitungskanal 1204
300 x 150 mm
90°
vertikal oben
Stahlblech
Leitungskanal 1204
300 x 150 mm
45°
vertikal oben
Stahlblech
Leitungskanal 1204
300 x 150 mm
45°
vertikal unten
Stahlblech
Leitungskanal 1204
300 x 150 mm
90°
vertikal unten
Stahlblech
Leitungskanal 1207
60 x 60 mm
45°
beliebig
Edelstahl 1.4301
Leitungskanal 1207
60 x 60 mm
90°
beliebig
Edelstahl 1.4301
Leitungskanal 1207
100 x 100 mm
45°
beliebig
Edelstahl 1.4301
Leitungskanal 1207
100 x 100 mm
90°
beliebig
Edelstahl 1.4301
Leitungskanal 1207
150 x 150 mm
45°
beliebig
Edelstahl 1.4301
Leitungskanal 1207
150 x 150 mm
90°
beliebig
Edelstahl 1.4301
Leitungskanal 1207
300 x 150 mm
45°
beliebig
Edelstahl 1.4301
Leitungskanal 1207
300 x 150 mm
90°
beliebig
Edelstahl 1.4301
Leitungskanal 1207
150 x 150 mm
90°
vertikal oben
Edelstahl 1.4301
Leitungskanal 1207
150 x 150 mm
45°
vertikal oben
Edelstahl 1.4301
Leitungskanal 1207
150 x 150 mm
45°
vertikal unten
Edelstahl 1.4301
Leitungskanal 1207
150 x 150 mm
90°
vertikal unten
Edelstahl 1.4301
Leitungskanal 1207
300 x 150 mm
90°
vertikal oben
Edelstahl 1.4301
Leitungskanal 1207
300 x 150 mm
45°
vertikal oben
Edelstahl 1.4301
Leitungskanal 1207
300 x 150 mm
45°
vertikal unten
Edelstahl 1.4301
Leitungskanal 1207
300 x 150 mm
90°
vertikal unten
Edelstahl 1.4301

Kontakt für Produkte
Finden Sie Ihren persönlichen Ansprechpartner
Wir sind gerne für Sie da

Optimale Schaltschränke und Gehäuse entstehen nicht am Fließband, sondern im Gespräch mit Ihnen. Sind Sie bereit? Dann sprechen Sie am besten gleich mit Ihrem persönlichen häwa Berater.

Jetzt Berater wählen

PM-Leitung: Herr Eglof. PM-Leitung: Herr Eglof.